Fahrrad Pedale Drehmoment
If you're searching for picture and video information linked to the keyword you've come to pay a visit to the right site. Our website gives you hints for seeing the maximum quality video and image content, hunt and find more informative video content and graphics that fit your interests.
includes one of thousands of video collections from several sources, especially Youtube, so we recommend this video for you to view. You can also contribute to supporting this website by sharing videos and images that you like on this site on your social networking accounts like Facebook and Instagram or tell your closest friends share your experiences concerning the ease of access to downloads and the information you get on this website. This site is for them to visit this site.

Cleat drehmoment 6 nm 6 nrn 6 nm 6 nm keine angaben 6 nm keine angaben 5 6 nm 5 6 nrn keine angaben 35 35 35 35 35 35 35 35 55 nm 55 nm 55 nm 55 nrn 55 nm.
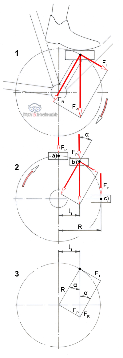
Fahrrad pedale drehmoment. Nicht jedes pedal hat innensechskant und kann daher nicht mit drehmoment angezogen werden. Pedale zieht man einfach fest an auch mit dem inbus und gut ist wohl die stelle am fahrrad wo eine drehmomentangabe am wenigsten nötig ist. Antrieb bewegt der fahrer das pedal dann erzeugt er über die tretkraft f p und den kurbelradius r p ein drehmoment m p f p r p. Gefahren die pedale waren wieder drin.
Jetzt weißt du wie du die pedale auseinanderhältst. F k ist größer als f p weil r k r p. Beim fahren übt der fuß eine kraft auf das pedal aus die sofern ein wirksamer hebelarm vorhanden ist von der tretlagerwelle in ein drehmoment umgewandelt wird. Bei einem rad die pedale leicht lösen und ich bin 30min.
Kräfte und drehmomente am pedal 29 12 2012 06 25. Das drehmoment m p wird über das tretlager auf das kettenblatt übertragen. Bei gewinde in alu ist die mindesteinschraubtiefe der 1 5 fache schraubendurchmesser. Tabelle schrauben anzugsmomente für radteile die beachtet werden sollten.
Anzugsmomente in nm für die wichtigsten radteile. Wir übernehmen erläuterungen aus dem tec lehrerfreund beitrag fahrrad. Drehe die fahrrad pedale mit entsprechendem drehmoment in das gewinde der tretkurbel und lokalisiere deine deine großzehgelenke. Fahrrad p edale de modell pd m323 5 pd m324 5 pd m424 5 pd m434 5 pd m505 5 pd m515 5 pd m520 5 pd m525 5 pd m530 5 pd m535 pd m536 5 pd m540 5.
Trotz der tatsache dass sich pedale beim fahren fetsziehen konnte ich ihn überreden einen versuch zu machen. Bei vielen kurbeln musst du aufpassen hier muss eine unterlegscheibe auf die pedale. Lerne hier wie du die pedale an deinem fahrrad wechselst. Etwas dahinter ist die kraftübertragung von der fußsohle auf das pedal am besten.
Ist die die schraube zu kurz und das gewinde ist nicht weit genug rein gedreht reist die schraube auch bei dem richtigen drehmoment raus. Eine wichtige schrauber regel lautet nach fest kommt lose aus diesem grunde sollte man möglichst einen drehmoment schlüssel benutzen den es hier preiswert gibt. Noch etwas das drehmoment alleine reicht nicht. Direkt unter diesen bzw.
Die angaben links und rechts beziehen sich immer auf die fahrerperspektive also so wie du von oben auf die kurbel guckst. Diese montage arbeit gehört zu den einfacheren aufgaben am fahrrad doch trotzdem gibt es einige hinweise die es zu beachten gibt.